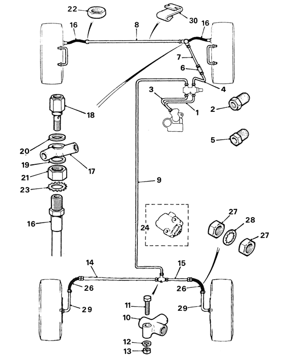
Brake Pipes
|
No.
|
Description
|
Part No.
|
|
220mm (8.5'') m/cylinder to PR valve 10mm
|
- 2 x M (metric)
|
||
|
1
|
229mm (9'') pre GMC227 to PR valve 10mm
|
- 2 x M (metric)
|
|
|
356mm (14") GMC227 to PR valve 10mm
|
- 2 x M (metric)
|
||
|
3
|
559mm (22") master cylinder to PR valve 10mm
|
Cooper SE, Cooper 1300cc and SPi- 2 x M (metric)
|
|
|
3
|
660mm (26") master cylinder to PR valve
|
- 2 x M (metric)
|
|
|
195mm (7.5'') PR valve to tube connector
|
- 2 x M (metric)
|
||
|
Connector tube (metric)
|
|
||
|
260mm (10'') tube connector to RH front hose
|
- 2 x M (1x metric)
|
||
|
1093mm (43") LH to RH front hoses
|
- 2 x M
|
||
|
8
|
1118mm (44") RH front hose to LH front hose
|
- 2 x M
|
|
|
2440mm (96") PR valve to rear 3 way
|
- 2 x M (1x metric)
|
||
|
9
|
2590mm (102") PR valve to rear 3 way
|
- 2 x M (1x metric)
|
|
|
3 way connector - rear subframe, each
|
|
||
|
Set Screw - 3 way to rear subframe
|
- 1/4" UNF x 1 1/4"
|
||
|
Spring Washer
|
- 1/4"
|
||
|
Nut
|
- 1/4" UNF
|
||
|
|
610mm (24") rear regulating valve to LH hose
|
- 1 x M, 1 x F
|
|
|
640mm (25") 3 way LH rear Hose
|
- 1 x M, 1 x F
|
||
|
152mm (6'') 3 way to RH rear hose
|
- 1 x M, 1 x F152mm (6'') rear regulating valve to RH hose
|
||
|
Rubber Hose standard
|
front disc type
|
||
|
16
|
Rubber Hose standard
|
front drum type
|
|
|
Banjo connector - 2 way
|
|
||
|
Banjo Bolt connetor for stoplight switch (C16062)
|
|
||
|
18
|
Banjo Bolt (no switch)
|
|
|
|
18
|
Brake light switch
|
- pre '76
|
|
|
Copper Washer - front hose to banjo
|
|
||
|
Copper Washer - banjo to banjo bolt
|
|
||
|
Lock Nut - RH front hose to subframe
|
|
||
|
Lock Nut - LH front hose to subframe
|
|
||
|
Lock Washer
|
|
||
|
Regulator valve, all Mk1/2 to '69 inc Cooper S
|
|
||
|
24
|
Regulator valve, Mk3 '69 to '78
|
|
|
|
Standard Rubber Hose Rear each
|
|
||
|
Lock Nut - rear hose to radius arm
|
|
||
|
Lock Washer - rear hose to radius arm & rear subframe
|
|
||
|
254mm (10'') rear hose to wheel cylinder
|
- 1 x M, 1 x F
|
||
|
Clip - brake pipe to front subframe
|
|
||
|
|
Clip - pipe to master cylinder,
|
LHD '88on
|
|
No.
|
Description
|
Part No.
|
|
254mm (10'') master cylinder to 3 way
|
- 2 x M
|
||
|
762mm (30") master cylinder to 3 way LHD
|
- 2 x M
|
||
|
|
762mm (30") master cylinder to servo 1275GT
|
- 2 x M
|
|
|
432mm (17") 3 way to RH front brake hose
|
- 2 x M
|
||
|
432mm (17") 3 way to RH front hose AUTO
|
- 2 x M
|
||
|
152mm (6'') rear regulating valve to RH hose
|
- 1 x M, 1 x F
|
||
|
7
|
203mm (8'') inertia valve to RH rear hose
|
- 1 x M, 1 x F
|
|
|
7
|
229mm (9'') inertia valve to RH rear hose, hydro
|
- 1 x M, 1 x F
|
|
|
|
rear hose to rear wheel cylinder, hydrolastic
|
- 1 x M, 1 x F
|
|
|
254mm (10'') rear hose to wheel cylinder VAN
|
- 1 x M, 1 x F
|
||
|
305mm (12") brake pipe to master cylinder
|
- 2 x M
|
||
|
356mm (14") master cylinder to 3 way
|
- 2 x M
|
||
|
254mm (10'') bridge pipe front wheel cylinders
|
- 2 x M
|
||
|
|
483mm (19") 3 way to front hose RH, saloon
|
- 2 x M
|
|
|
610mm (24") servo to 3 way connector (Mk3 S)
|
- 2 x M
|
||
|
|
610mm (24") rear regulating valve to LH hose
|
- 2 x M
|
|
|
|
660mm (26") rear reg. valve to LH hose, hydro
|
- 1 x M, 1 x F
|
|
|
|
737mm (29") m/cylinder to warning switch LHD
|
- 2 x M
|
|
|
813mm (32") master cylinder to servo
|
- 2 x M
|
||
|
|
839mm (33") master cylinder to 3 way LHD
|
- 2 x M
|
|
|
|
889mm (35") inertia valve to LH rear hose
|
- 1 x M, 1 x F
|
|
|
|
940mm (37") inertia valve to LH rear hose hydro
|
- 1 x M, 1 x F
|
|
|
|
1067mm (42") servo to RH front hose LHD
|
- 2 x M
|
|
|
1090mm (43") RH front hose to LH front hose
|
- 2 x M
|
||
|
1118mm (44") RH front hose to LH front hose
|
- 2 x M
|
||
|
2565mm (101") 3 way to rear regulating valve
|
- 2 x M
|
||
|
5
|
2642mm (104") 3 way to rear reg. VAN
|
- 2 x M
|
|
|
|
2695mm (106") 3 way to rear reg. valve Van
|
- 2 x M
|
|
|
|
2695mm (109") warning switch to inertia valve
|
- 2 x M
|
|
|
|
432mm (17") tube connector to LH front hose
|
- 2 x M
|
|
|
|
737mm (29") warning switch to tube connector
|
- 2 x M
|
|
|
|
762mm (30") master cylinder to warning switch
|
- 2 x M
|
|
|
|
2440mm (96") warning switch to RH rear hose - saloon with split diagonal brake system
|
- 1 x M, 1 x F
|
|
|
|
2695mm (116") warning switch to LH rear hose - saloon with split diagonal brake system
|
- 1 x M, 1 x F
|
|
|
|
2565mm (101") warning switch to RH rear hose van, estate, pick-up with split diagonal brake system
|
- 1 x M, 1 x F
|
|
|
|
3048mm (120") warning switch to LH rear hose van, estate, pick-up with split diagonal brake system
|
- 1 x M, 1 x F
|
|
|
|
Draper 7 Piece Brake Pipe Flaring Tool Kit
|
|
|
|
|
Hand held pipe bending tool - small radius bends - 3/16" (4.76mm) pipe.
|
|
|
|
|
Pipe bending tool - o.d. 3/16 - 3/8" (4.76-10mm) bends to radius of 3/4" - 1 1/4" (1.9 - 3.2cm).
|
|
|
|
|
Male Brass Fittings M10 x 1mm 3/16"
|
- x 10
|
|
|
|
Male Brass Fittings 3/8 x 24 UNF 3/16Ó
|
- x 10
|
|
|
|
Female Brass Fittings 3/8 x 24 UNF 3/16Ó
|
- x 10
|
|
|
|
Female Brass Fittings M10 x 1mm 3/16"
|
- x 10
|
|
|
|
Copper Brake Pipe - 3/16" 25m roll
|
|
|
|
|
Eezibleed - one man bleed - brake/clutch
|
|
|
|
|
Vacuum pump for bleeding & vac testing
|
|
|
|
|
Brake adjusting spanner
|
|
|
|
|
Brake bleed spanner - 1/4'' & 7mm
|
NLA
|
|
|
|
Brake caliper windback tool - 14 piece
|
|